Clapet de retenue PVC taraudé - Joints FPM
Code produit :Le clapet de retenue est un dispositif permettant de contrôler le sens de circulation d'un fluide quelconque. Il permet le passage d'un liquide dans un sens et bloque le flux si celui-ci venait à s'inverser.
Il est guidé grâce au ressort : amélioration de l'étanchéité même à faible pression, rapidité de fermeture.
Le sens de montage du clapet de retenue doit être respecté (flèche dans le sens de l'écoulement).
- Equipé de ressort pour fermer le piston. Employé sur conduite horizontale et verticale
- La soupape de retenue est munie d'un mécanisme à ressort et ferme hermétiquement, même à faible pression
- Lorsque l'écoulement du fluide s'arrête, la force du ressort pousse l'obturateur et ferme hermétiquement le siège de soupape
Domaines d'application
Clapets de retenue en PVC non plastifié pour les systèmes de canalisations d'eau sous pression à des températures inférieures ou égales à 45°C (à partir de 25°C, appliquer un coefficient de détimbrage) et leurs assemblages avec des composants en PVC-U ou en d'autres matériaux destinés aux conduites enterrées ou en aérien à l'extérieur ou à l'intérieur du bâtiment.
Caractéristiques techniques
ISO 7-1:1994 Filetages de tuyauterie pour raccordement avec étanchéité dans le filet — Partie 1: Dimensions, tolérances et désignation
NF EN 681-1: Garnitures d'étanchéité en caoutchouc - Spécification des matériaux pour garnitures d'étanchéité pour joints de canalisations utilisées dans le domaine de l'eau et de l'évacuation. - Partie 1 : caoutchouc vulcanisé Certification
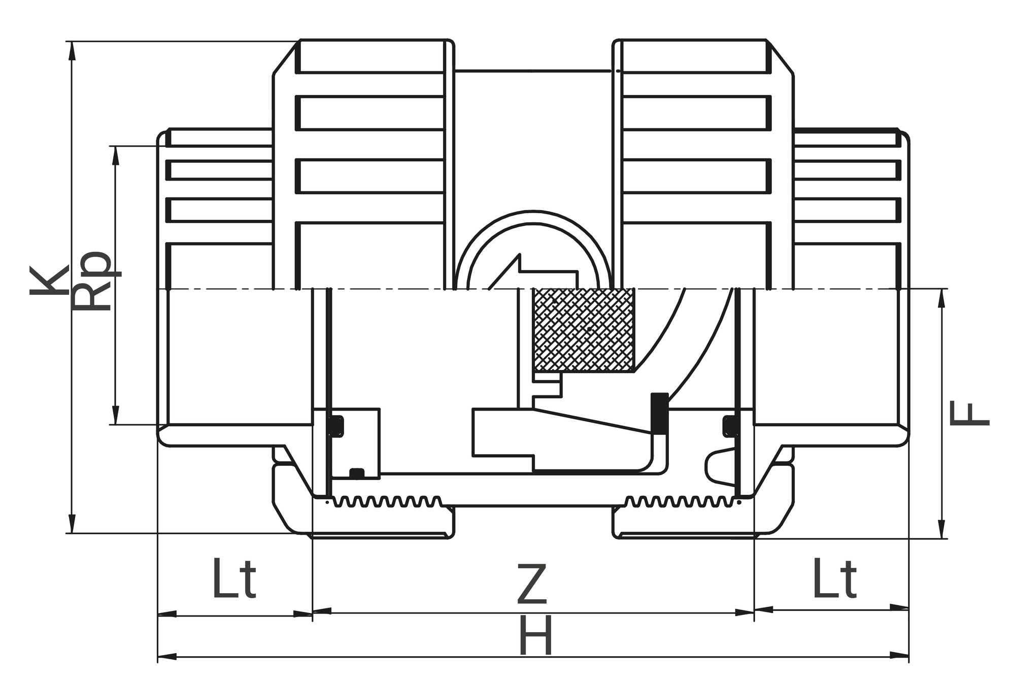
Références et dimensions
| Référence | Rp | Lt | Z | K | H | F | DN | PN à 20°C | Fiche tech. | CAD |
|---|---|---|---|---|---|---|---|---|---|---|
| 109103 | 3/8" | 14 | 43 | 45 | 71 | 23 | 10 | 16 | Télécharger Fiche tech. | Télécharger CAD |
| 109105 | 1/2" | 16 | 43 | 45 | 75 | 23 | 15 | 16 | Télécharger Fiche tech. | Télécharger CAD |
| 109107 | 3/4" | 19 | 51 | 55 | 89 | 29 | 20 | 16 | Télécharger Fiche tech. | Télécharger CAD |
| 109110 | 1" | 22 | 58 | 66 | 102 | 37 | 25 | 16 | Télécharger Fiche tech. | Télécharger CAD |
| 109113 | 1 1/4" | 26 | 68 | 80 | 120 | 44 | 32 | 16 | Télécharger Fiche tech. | - |
| 109115 | 1 1/2" | 31 | 80 | 96 | 142 | 54 | 40 | 16 | Télécharger Fiche tech. | Télécharger CAD |
| 109120 | 2" | 38 | 93 | 118 | 169 | 65 | 50 | 16 | Télécharger Fiche tech. | Télécharger CAD |

Informations logistiques
| Pièce | Carton | ||||||||
|---|---|---|---|---|---|---|---|---|---|
| Référence | Larg. (mm) | Prof. (mm) | Haut. (mm) | Poids (kg) | Larg. (mm) | Prof. (mm) | Haut. (mm) | Qté | Poids (kg) |
| 109103 | 45 | 43 | 43 | 0,09 | 480 | 330 | 355 | 80 | 7.74 |
| 109105 | 45 | 43 | 43 | 0,09 | 480 | 330 | 355 | 80 | 7.74 |
| 109107 | 55 | 51 | 51 | 0,145 | 480 | 330 | 355 | 52 | 8.08 |
| 109110 | 66 | 58 | 58 | 0,245 | 480 | 330 | 355 | 30 | 7.89 |
| 109113 | 80 | 68 | 68 | 0,41 | 480 | 330 | 355 | 22 | 9.56 |
| 109115 | 96 | 80 | 80 | 0,69 | 480 | 330 | 355 | 13 | 9.51 |
| 109120 | 118 | 93 | 93 | 1,17 | 480 | 330 | 355 | 6 | 7.56 |
