Vanne PVC à ventouse taraudée - Joints FPM
Code produit :Une vanne à ventouse se place au point haut d'un réseau et permet :
- l'évacuation d'air pendant le remplissage de la canalisation,
- le dégazage pendant le fonctionnement normal,
- l'admission lors de la vidange.
Fonctionne seulement en montage vertical.
Pas de ressort. En cas de dépression ou lorsque le niveau du fluide diminue brusquement, de l'air pénètre dans la canalisation par l'intermédiaire de la soupape. Lorsque le niveau du fluide ou la pression augmente, l'air s'échappe en sens inverse par la soupape jusqu'à ce que le piston remonte et ferme hermétiquement le siège supérieur de la soupape.
Domaines d'application
Vannes à ventouse en PVC non plastifié pour les systèmes de canalisations d'eau sous pression à des températures inférieures ou égales à 45°C (à partir de 25°C, appliquer un coefficient de détimbrage) et leurs assemblages avec des composants en PVC-U ou en d'autres matériaux destinés aux conduites enterrées ou en aérien à l'extérieur ou à l'intérieur du bâtiment.
Caractéristiques techniques
ISO 7-1:1994 Filetages de tuyauterie pour raccordement avec étanchéité dans le filet — Partie 1: Dimensions, tolérances et désignation
NF EN 681-1: Garnitures d'étanchéité en caoutchouc - Spécification des matériaux pour garnitures d'étanchéité pour joints de canalisations utilisées dans le domaine de l'eau et de l'évacuation. - Partie 1 : caoutchouc vulcanisé Certification
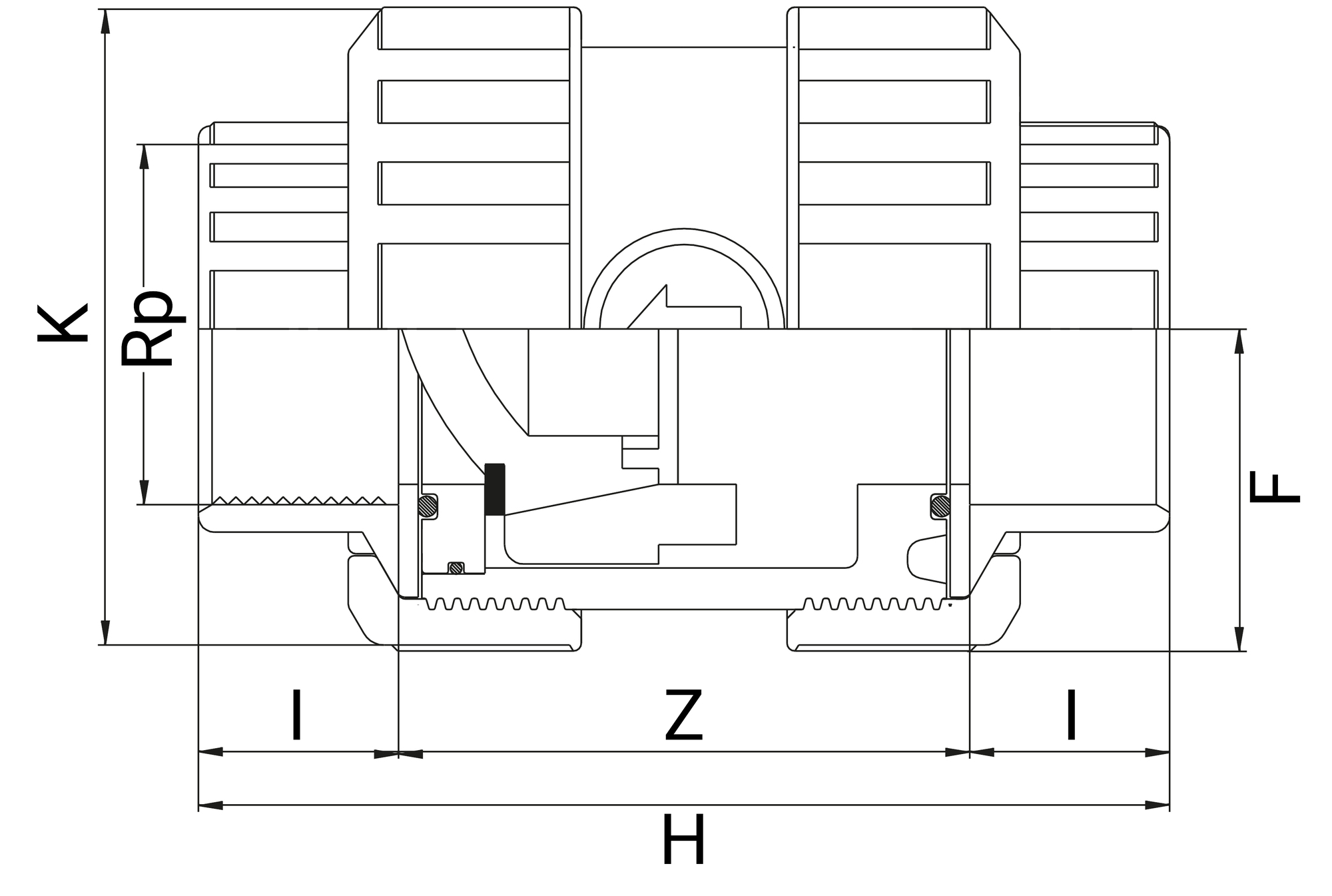
Références et dimensions
| Référence | Rp | DN | d | Z | K | I | H | F | PN à 20°C | Fiche tech. | CAD |
|---|---|---|---|---|---|---|---|---|---|---|---|
| 169103 | 3/8" | 10 | 3/8" | 47 | 45 | 12 | 71 | 23 | 16 | Télécharger Fiche tech. | Télécharger CAD |
| 169105 | 1/2" | 15 | 1/2" | 45 | 45 | 15 | 75 | 23 | 16 | Télécharger Fiche tech. | Télécharger CAD |
| 169107 | 3/4" | 20 | 3/4" | 57 | 55 | 16 | 89 | 29 | 16 | Télécharger Fiche tech. | Télécharger CAD |
| 169110 | 1" | 25 | 1 | 64 | 66 | 19 | 102 | 37 | 16 | Télécharger Fiche tech. | Télécharger CAD |
| 169113 | 1 1/4" | 32 | 1 1/4 | 76 | 80 | 22 | 120 | 44 | 16 | Télécharger Fiche tech. | Télécharger CAD |
| 169115 | 1 1/2" | 40 | 1 1/2 | 98 | 96 | 22 | 142 | 54 | 16 | Télécharger Fiche tech. | Télécharger CAD |
| 169120 | 2" | 50 | 2 | 117 | 118 | 26 | 169 | 65 | 16 | Télécharger Fiche tech. | Télécharger CAD |

Informations logistiques
| Pièce | Carton | ||||||||
|---|---|---|---|---|---|---|---|---|---|
| Référence | Larg. (mm) | Prof. (mm) | Haut. (mm) | Poids (kg) | Larg. (mm) | Prof. (mm) | Haut. (mm) | Qté | Poids (kg) |
| 169103 | 12 | 47 | 47 | 0,088 | 480 | 310 | 340 | 80 | 7.58 |
| 169105 | 15 | 45 | 45 | 0,088 | 480 | 310 | 340 | 80 | 7.58 |
| 169107 | 16 | 57 | 57 | 0,145 | 480 | 310 | 340 | 52 | 8.08 |
| 169110 | 19 | 64 | 64 | 0,24 | 480 | 310 | 340 | 30 | 7.74 |
| 169113 | 22 | 76 | 76 | 0,405 | 480 | 310 | 340 | 22 | 9.45 |
| 169115 | 22 | 98 | 98 | 0,68 | 480 | 310 | 340 | 13 | 9.38 |
| 169120 | 26 | 117 | 117 | 1,145 | 480 | 310 | 340 | 6 | 7.41 |
