Coude à 90° électrosoudable NF 136-GAZ
Code produit : 46054
Raccords NF 136-GAZ
Domaines d'application
Raccords électrosoudables en polyéthylène (PE) pour les systèmes de canalisations destinées à la distribution de combustibles gazeux et à leurs assemblages avec des composants en PE et autres matières, destinés à être utilisés une pression maximale de service, MOP, jusques et y compris 10 bars et à une température de service de 20 °C, comme température de référence.
Caractéristiques techniques
Matière
PEHD.
Références normatives NF EN 1555-3 : Systèmes de canalisations en plastique pour la distribution de combustibles gazeux — Polyéthylène (PE) — Partie 3 : raccords Certification Marque NF 136-GAZ
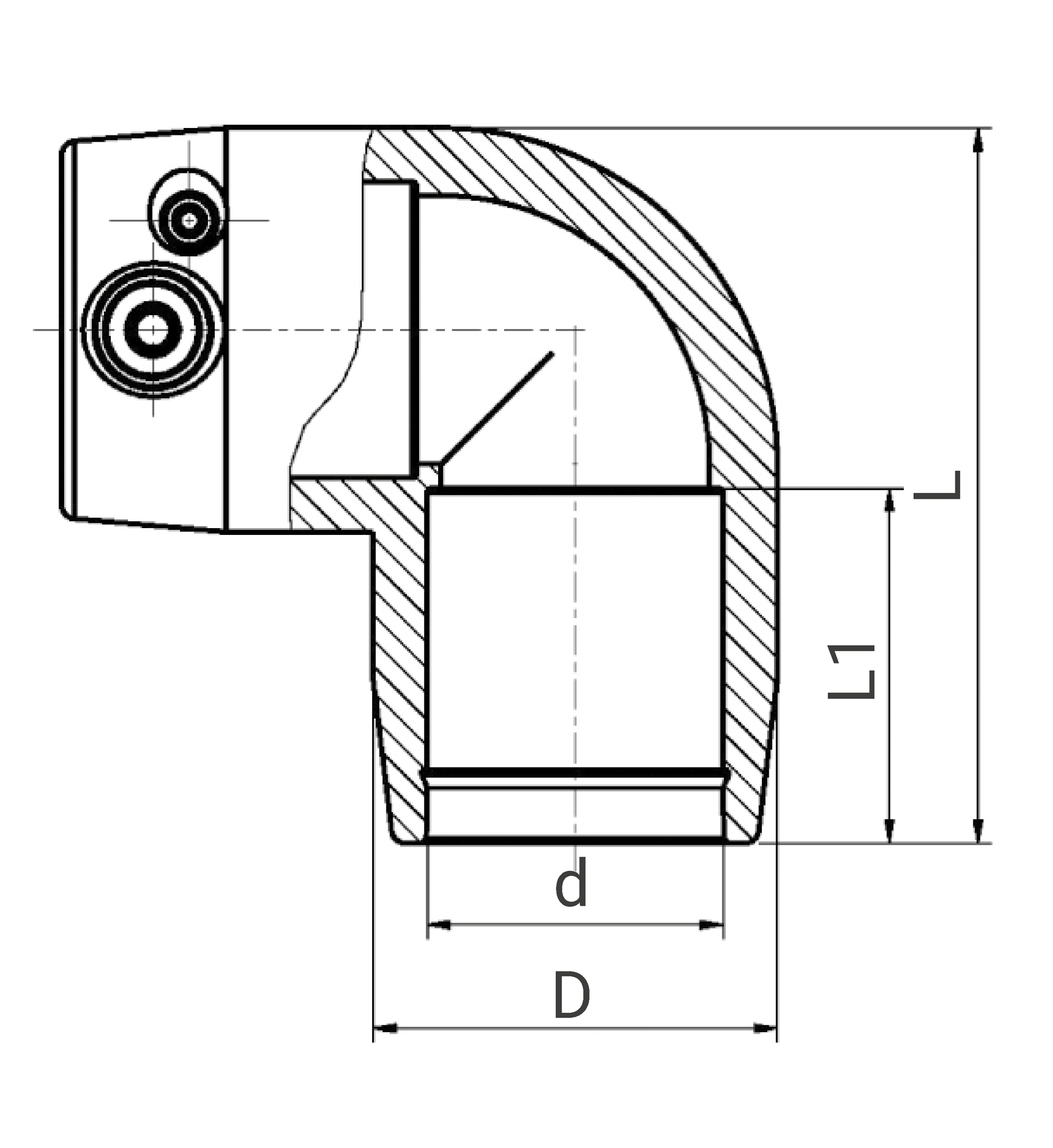
Références et dimensions
| Référence | d | L | D | L1 | Pour tubes SDR | PN à 20°C | Fiche tech. |
|---|---|---|---|---|---|---|---|
| 46054020 | 20 | 66 | 36 | 35 | 7,4 à 11 | 10 | Télécharger Fiche tech. |
| 46054032 | 32 | 83 | 44 | 40 | 7,4 à 11 | 10 | Télécharger Fiche tech. |
Schéma technique pour le produit :

Informations logistiques
| Pièce | Carton | ||||||||
|---|---|---|---|---|---|---|---|---|---|
| Référence | Larg. (mm) | Prof. (mm) | Haut. (mm) | Poids (kg) | Larg. (mm) | Prof. (mm) | Haut. (mm) | Qté | Poids (kg) |
| 46054020 | 70 | 60 | 70 | 0,064 | 570 | 490 | 330 | 320 | 21,88 |
| 46054032 | 90 | 65 | 90 | 0,082 | 570 | 490 | 330 | 192 | 17,14 |
