Manchon union PVC 3 pièces Piscine
Code produit :Le manchon union 3 pièces PVC-U permet le raccordement à un raccord PVC-U mâle à coller et/ou à un tube en PVC-U par collage, avec un démontage facile sans couper le réseau.
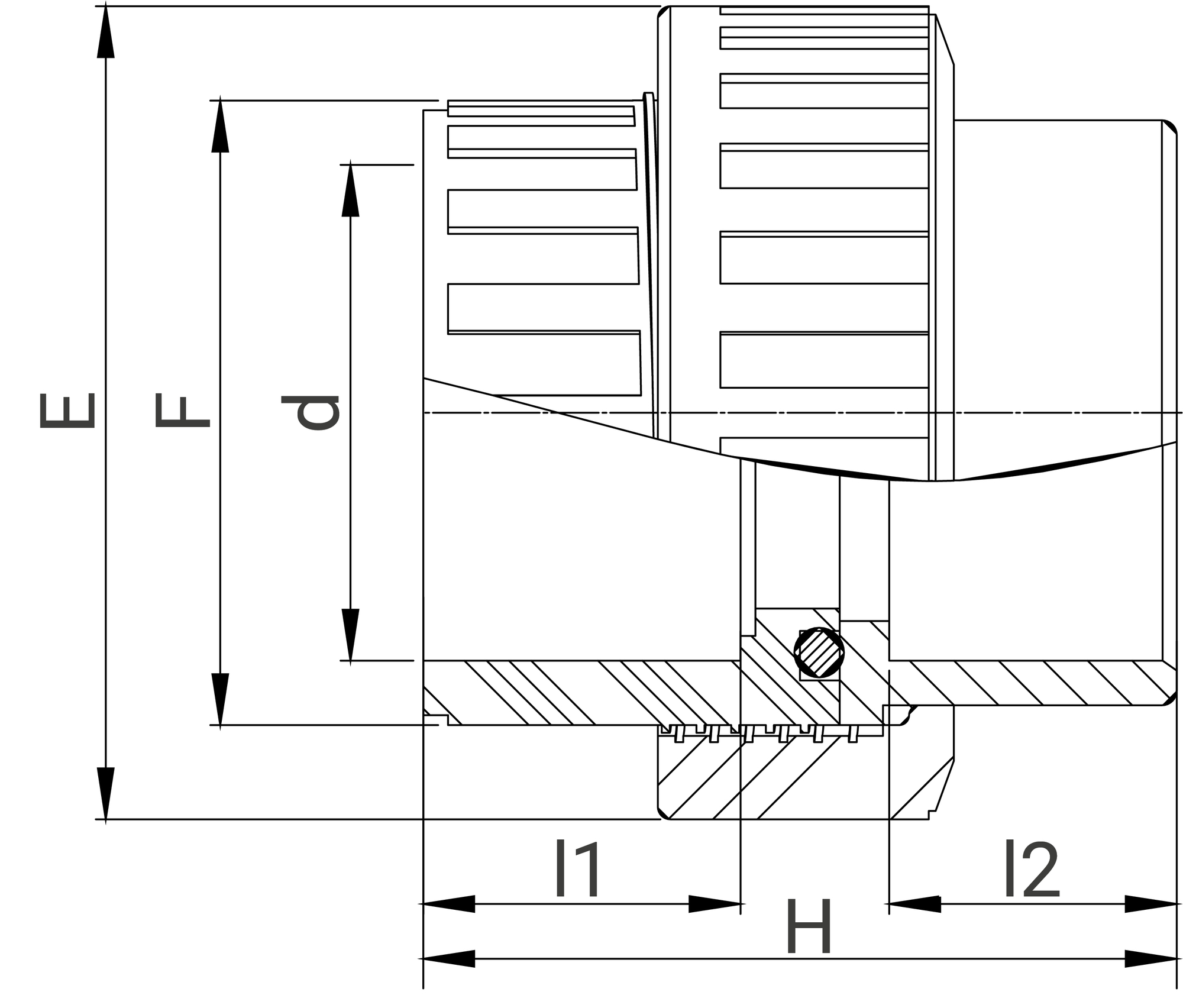
d63 mm : serrage possible avec la poignée de la vanne 1150P.
Spécial piscine, disponible en PN 16 en d50 et 63 mm.
Excellente résistance chimique aux produits couramment utilisés dans les piscines, tels que le chlore, le brome ou les correcteurs de pH.
Légers et faciles à installer, avec une manipulation simple et un raccordement par collage.
Aucune oxydation ni dépôt interne, grâce à un intérieur lisse ne provoquant pas de perte de charge liée à la corrosion.
Raccordement économique.
Compatible avec les réseaux apparents, offrant une esthétique sobre et durable.
Domaines d'application
Pour les systèmes de canalisations en PVC-U rigide, utilisés dans les réseaux de piscine dans la limite de la PN.
Canalisations enterrées ou apparentes. Température du fluide : max 45°C, détimbrage à partir de 20°C.
Caractéristiques techniques
NF EN 681-1: Garnitures d'étanchéité en caoutchouc - Spécification des matériaux pour garnitures d'étanchéité pour joints de canalisations utilisées dans le domaine de l'eau et de l'évacuation. - Partie 1 : caoutchouc vulcanisé Certification
Références et dimensions
| Référence | d | E | F | l1 | l2 | H | PN à 20°C | Fiche tech. |
|---|---|---|---|---|---|---|---|---|
| 508050P | 50 | 82 | 63 | 32 | 31 | 77 | 16 | Télécharger Fiche tech. |
| 508063P | 63 | 105 | 80 | 36 | 37 | 92 | 16 | Télécharger Fiche tech. |

Outillage de mise en oeuvre
Informations logistiques
| Pièce | Carton | ||||||||
|---|---|---|---|---|---|---|---|---|---|
| Référence | Larg. (mm) | Prof. (mm) | Haut. (mm) | Poids (kg) | Larg. (mm) | Prof. (mm) | Haut. (mm) | Qté | Poids (kg) |
| 508050P | 77 | 100 | 100 | 0,257 | 390 | 290 | 340 | 40 | 11.10 |
| 508063P | 100 | 106 | 106 | 0,351 | 390 | 290 | 340 | 27 | 10.30 |
