Raccord femelle à compression Série 7 - Filet conique - ISO 7-1
Code produit : 7030
Raccords taraudés-filetés
Adaptateur droit à compression - Taraudé pour systèmes de canalisations sous pression.
Permet l'assemblage en ligne d'un tube en PEHD avec un accessoire de réseau fileté conique selon ISO 7-1.
Disponible en PN16 du d16x1/2'' à 63x2''.
Les produits
- Etanchéité indépendante du serrage - Usinage de la gorge du joint dans la masse du corps.Cette gorge n’est pas rapportée en utilisant un insert. Elle est fixe et adaptée au joint. C’est la meilleure garantie pour l’étanchéité de l’assemblage.
- Insertion du tube sans démontage du raccord.
- Taraudage cylindrique selon ISO 7-1.
- Joint torique (16, 20, 25 et 32 mm) : pas besoin de chanfreiner - Joint trapézoïdale (40, 50 et 63mm) : chanfreinage conseillé
- Etanchéité dans le filet à l'aide de ruban PTFE ou pâte à joint à base de PTFE.
Domaines d'application
Irrigation - Adduction d'eau brute ou destinée à la consommation humaine.
Température du fluide : max 40°C, détimbrage à partir de 20°C.
Caractéristiques techniques
Matière
ISO 7-1:1994 Filetages de tuyauterie pour raccordement avec étanchéité dans le filet — Partie 1: Dimensions, tolérances et désignation
NF EN 681-1: Garnitures d'étanchéité en caoutchouc - Spécification des matériaux pour garnitures d'étanchéité pour joints de canalisations utilisées dans le domaine de l'eau et de l'évacuation. - Partie 1 : caoutchouc vulcanisé Certification
Corps : Polypropylène, copolymère haute qualité. Ecrous : Polypropylène, copolymère haute qualité. Taraudage : Polypropylène, copolymère haute qualité. Joints : NBR.
Références normatives ISO 17885: 2021 - Systèmes de canalisations en plastiques — Raccords mécaniques pour les canalisations sous pression — SpécificationsISO 7-1:1994 Filetages de tuyauterie pour raccordement avec étanchéité dans le filet — Partie 1: Dimensions, tolérances et désignation
NF EN 681-1: Garnitures d'étanchéité en caoutchouc - Spécification des matériaux pour garnitures d'étanchéité pour joints de canalisations utilisées dans le domaine de l'eau et de l'évacuation. - Partie 1 : caoutchouc vulcanisé Certification
Attestation de Conformité Sanitaire (ACS)
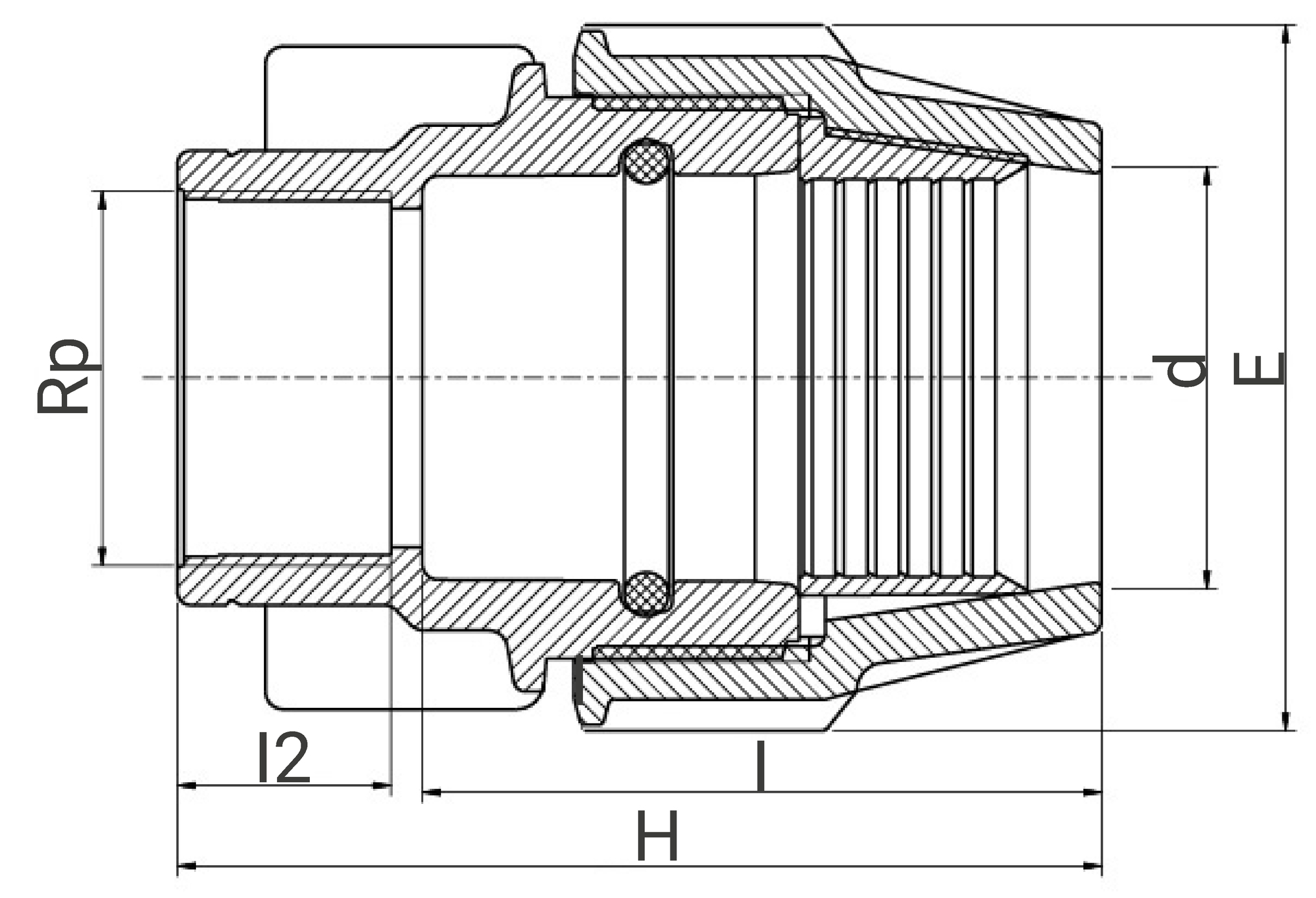
Références et dimensions
| Référence | d x Rp | H | E | I | I2 | PN à 20°C | Fiche tech. | CAD |
|---|---|---|---|---|---|---|---|---|
| 70301605 | 16 x 1/2" | 73 | 39 | 52 | 19 | 16 | Télécharger Fiche tech. | Télécharger CAD |
| 70301607 | 16 x 3/4" | 75 | 39 | 53 | 19 | 16 | Télécharger Fiche tech. | Télécharger CAD |
| 70302005 | 20 x 1/2" | 82 | 48 | 60 | 19 | 16 | Télécharger Fiche tech. | Télécharger CAD |
| 70302007 | 20 x 3/4" | 82 | 48 | 60 | 19 | 16 | Télécharger Fiche tech. | Télécharger CAD |
| 70302010 | 20 x 1" | 92 | 48 | 57 | 21 | 16 | Télécharger Fiche tech. | Télécharger CAD |
| 70302507 | 25 x 3/4" | 88 | 54 | 63 | 21 | 16 | Télécharger Fiche tech. | Télécharger CAD |
| 70302510 | 25 x 1" | 88 | 54 | 63 | 21 | 16 | Télécharger Fiche tech. | Télécharger CAD |
| 70303207 | 32 x 3/4" | 94 | 64 | 73 | 19 | 16 | Télécharger Fiche tech. | Télécharger CAD |
| 70303210 | 32 x 1" | 94 | 64 | 69 | 21 | 16 | Télécharger Fiche tech. | Télécharger CAD |
| 70303213 • | 32 x 1 1/4" | 96 | 64 | 67 | 25 | 16 | Télécharger Fiche tech. | Télécharger CAD |
| 70304010 | 40 x 1" | 112 | 82 | 84 | 21 | 16 | Télécharger Fiche tech. | Télécharger CAD |
| 70304013 • | 40 x 1 1/4" | 114 | 82 | 84 | 25 | 16 | Télécharger Fiche tech. | Télécharger CAD |
| 70304015 | 40 x 1 1/2" | 114 | 82 | 84 | 25 | 16 | Télécharger Fiche tech. | Télécharger CAD |
| 70305013 • | 50 x 1 1/4" | 123 | 96 | 93 | 25 | 16 | Télécharger Fiche tech. | Télécharger CAD |
| 70305015 • | 50 x 1 1/2" | 123 | 96 | 93 | 25 | 16 | Télécharger Fiche tech. | Télécharger CAD |
| 70305020 • | 50 x 2" | 128 | 96 | 93 | 30 | 16 | Télécharger Fiche tech. | Télécharger CAD |
| 70306313 • | 63 x 1 1/4" | 139 | 113 | 110 | 25 | 16 | Télécharger Fiche tech. | Télécharger CAD |
| 70306315 • | 63 x 1 1/2" | 139 | 113 | 110 | 25 | 16 | Télécharger Fiche tech. | Télécharger CAD |
| 70306320 • | 63 x 2" | 148 | 113 | 110 | 30 | 16 | Télécharger Fiche tech. | Télécharger CAD |
• Sortie taraudée renforcée par une bague en acier inox.
Schéma technique pour le produit :

Accessoires
Vidéos
Nos formations
Plasson France accompagne vos équipes dans l’apprentissage des bonnes pratiques de raccordement du PE.
Découvrir nos formationsOutillage de mise en oeuvre
Ressources
Fiche technique - Raccord femelle - Filet conique - ISO 7-1 - 7030
(application/pdf, 258.81 ko)Fiche de mise en oeuvre - Raccord femelle - Filet conique - ISO 7-1 - 7030
(application/pdf, 598.04 ko)Attestation de Conformité Sanitaire (ACS) - Raccord femelle - Filet conique - ISO 7-1 - 7030
(application/pdf, 1038.23 ko)Informations logistiques
| Pièce | Sachet | Carton | |||||||||
|---|---|---|---|---|---|---|---|---|---|---|---|
| Référence | Larg. (mm) | Prof. (mm) | Haut. (mm) | Poids (kg) | Poids (kg) | Qté | Larg. (mm) | Prof. (mm) | Haut. (mm) | Qté | Poids (kg) |
| 70301605 | 75 | 40 | 40 | 0,04 | 0,4 | 10 | 570 | 490 | 330 | 500 | 21,4 |
| 70301607 | 75 | 40 | 40 | 0,04 | 0,4 | 10 | 570 | 490 | 330 | 500 | 21,4 |
| 70302005 | 85 | 50 | 50 | 0,06 | 0,6 | 10 | 570 | 490 | 330 | 350 | 22,4 |
| 70302007 | 85 | 50 | 50 | 0,06 | 0,6 | 10 | 570 | 490 | 330 | 350 | 22,4 |
| 70302010 | 95 | 50 | 50 | 0,07 | 0,7 | 10 | 570 | 490 | 330 | 300 | 22,4 |
| 70302507 | 95 | 55 | 55 | 0,08 | 0,8 | 10 | 570 | 490 | 330 | 250 | 21,4 |
| 70302510 | 95 | 55 | 55 | 0,08 | 0,8 | 10 | 570 | 490 | 330 | 250 | 21,4 |
| 70303207 | 95 | 65 | 65 | 0,11 | 0,55 | 5 | 570 | 490 | 330 | 150 | 17,9 |
| 70303210 | 95 | 65 | 65 | 0,12 | 0,6 | 5 | 570 | 490 | 330 | 150 | 19,4 |
| 70303213 | 100 | 65 | 65 | 0,14 | 0,7 | 5 | 570 | 490 | 330 | 140 | 21 |
| 70304010 | 115 | 80 | 80 | 0,18 | - | - | 570 | 490 | 330 | 110 | 21,2 |
| 70304013 | 115 | 80 | 80 | 0,2 | - | - | 570 | 490 | 330 | 110 | 23,4 |
| 70304015 | 115 | 80 | 80 | 0,23 | - | - | 570 | 490 | 330 | 100 | 24,4 |
| 70305013 | 125 | 95 | 95 | 0,28 | - | - | 570 | 490 | 330 | 75 | 22,4 |
| 70305015 | 125 | 95 | 95 | 0,28 | - | - | 570 | 490 | 330 | 70 | 21 |
| 70305020 | 130 | 95 | 95 | 0,29 | - | - | 570 | 490 | 330 | 70 | 21,7 |
| 70306313 | 140 | 110 | 110 | 0,42 | - | - | 570 | 490 | 330 | 48 | 21,56 |
| 70306315 | 140 | 110 | 110 | 0,44 | - | - | 570 | 490 | 330 | 48 | 22,52 |
| 70306320 | 150 | 110 | 110 | 0,44 | - | - | 570 | 490 | 330 | 48 | 22,52 |
