Raccord mâle à compression Série 7 - Filet conique - ISO 7-1
Code produit : 7020
Raccords taraudés-filetés
Adaptateur droit à compression - Fileté pour systèmes de canalisations sous pression.
Permet l'assemblage en ligne d'un tube en PEHD avec un accessoire de réseau taraudé cylindrique selon ISO7-1. Disponible en PN16 du d20x3/8'' à 63x2 1/2''.
Les produits
- Etanchéité indépendante du serrage - Usinage de la gorge du joint dans la masse du corps. Cette gorge n’est pas rapportée en utilisant un insert. Elle est fixe et adaptée au joint. C’est la meilleure garantie pour l’étanchéité de l’assemblage.
- Insertion du tube sans démontage du raccord.
- Filetage conique selon ISO 7-1.
- Joint torique (16, 20, 25 et 32 mm) pas besoin de chanfreiner - Joint trapézoïdale (40, 50 et 63mm) : chanfreinage conseillé.
- Etanchéité dans le filet à l'aide de ruban PTFE ou pâte à joint à base de PTFE.
Domaines d'application
Irrigation - Adduction d'eau brute ou destinée à la consommation humaine.
Température du fluide : max 40°C, détimbrage à partir de 20°C.
Caractéristiques techniques
Matière
ISO 7-1:1994 Filetages de tuyauterie pour raccordement avec étanchéité dans le filet — Partie 1: Dimensions, tolérances et désignation Certification
Corps : Polypropylène, copolymère haute qualité. Ecrous : Polypropylène, copolymère haute qualité. Filetage : Polypropylène, copolymère haute qualité. Joints : NBR.
Références normatives ISO 17885: 2021 - Systèmes de canalisations en plastiques — Raccords mécaniques pour les canalisations sous pression — SpécificationsISO 7-1:1994 Filetages de tuyauterie pour raccordement avec étanchéité dans le filet — Partie 1: Dimensions, tolérances et désignation Certification
Attestation de Conformité Sanitaire (ACS)
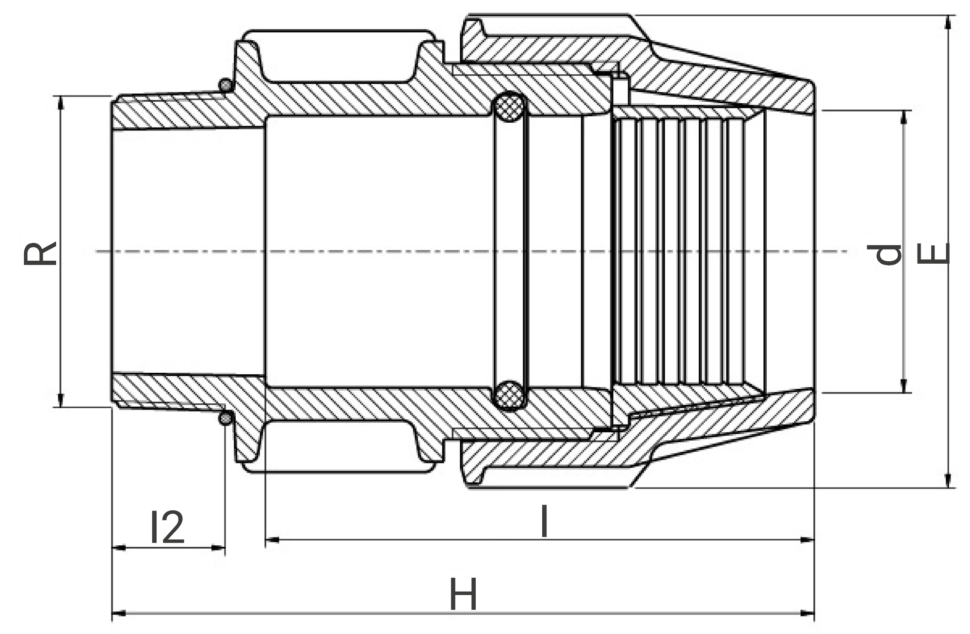
Références et dimensions
| Référence | d x R | H | E | I | l2 | PN à 20°C | Fiche tech. | CAD |
|---|---|---|---|---|---|---|---|---|
| 70201603 | 16 x 3/8" | 76 | 39 | 59 | 13 | 16 | Télécharger Fiche tech. | Télécharger CAD |
| 70201605 | 16 x 1/2" | 79 | 39 | 59 | 16 | 16 | Télécharger Fiche tech. | Télécharger CAD |
| 70201607 | 16 x 3/4" | 79 | 39 | 59 | 17 | 16 | Télécharger Fiche tech. | Télécharger CAD |
| 70202005 | 20 x 1/2" | 92 | 48 | 71 | 17 | 16 | Télécharger Fiche tech. | Télécharger CAD |
| 70202007 | 20 x 3/4" | 92 | 48 | 71 | 18 | 16 | Télécharger Fiche tech. | Télécharger CAD |
| 70202010 | 20 x 1" | 86 | 48 | 52 | 20 | 16 | Télécharger Fiche tech. | Télécharger CAD |
| 70202505 | 25 x 1/2" | 94 | 54 | 72 | 17 | 16 | Télécharger Fiche tech. | Télécharger CAD |
| 70202507 | 25 x 3/4" | 95 | 54 | 72 | 18 | 16 | Télécharger Fiche tech. | Télécharger CAD |
| 70202510 | 25 x 1" | 97 | 54 | 72 | 20 | 16 | Télécharger Fiche tech. | Télécharger CAD |
| 70203207 | 32 x 3/4" | 106 | 64 | 83 | 18 | 16 | Télécharger Fiche tech. | Télécharger CAD |
| 70203210 | 32 x 1" | 107 | 64 | 83 | 20 | 16 | Télécharger Fiche tech. | Télécharger CAD |
| 70203213 | 32 x 1 1/4" | 110 | 64 | 83 | 22 | 16 | Télécharger Fiche tech. | Télécharger CAD |
| 70203215 | 32 x 1 1/2" | 110 | 64 | 83 | 22 | 16 | Télécharger Fiche tech. | Télécharger CAD |
| 70204010 | 40 x 1" | 118 | 82 | 91 | 20 | 16 | Télécharger Fiche tech. | Télécharger CAD |
| 70204013 | 40 x 1 1/4" | 117 | 82 | 90 | 22 | 16 | Télécharger Fiche tech. | Télécharger CAD |
| 70204015 | 40 x 1 1/2" | 117 | 82 | 90 | 22 | 16 | Télécharger Fiche tech. | Télécharger CAD |
| 70204020 | 40 x 2" | 123 | 82 | 91 | 26 | 16 | Télécharger Fiche tech. | Télécharger CAD |
| 70205010 | 50 x 1" | 133 | 96 | 106 | 20 | 16 | Télécharger Fiche tech. | Télécharger CAD |
| 70205013 | 50 x 1 1/4" | 136 | 96 | 106 | 22 | 16 | Télécharger Fiche tech. | Télécharger CAD |
| 70205015 | 50 x 1 1/2" | 136 | 96 | 109 | 22 | 16 | Télécharger Fiche tech. | Télécharger CAD |
| 70205020 | 50 x 2" | 140 | 96 | 109 | 26 | 16 | Télécharger Fiche tech. | Télécharger CAD |
| 70206313 | 63 x 1 1/4" | 154 | 113 | 123 | 22 | 16 | Télécharger Fiche tech. | Télécharger CAD |
| 70206315 | 63 x 1 1/2" | 154 | 113 | 123 | 22 | 16 | Télécharger Fiche tech. | Télécharger CAD |
| 70206320 | 63 x 2" | 167 | 113 | 123 | 26 | 16 | Télécharger Fiche tech. | Télécharger CAD |
| 70206325 | 63 x 2 1/2" | 160 | 113 | 123 | 29 | 16 | Télécharger Fiche tech. | Télécharger CAD |
Schéma technique pour le produit :

Accessoires
Vidéos
Nos formations
Plasson France accompagne vos équipes dans l’apprentissage des bonnes pratiques de raccordement du PE.
Découvrir nos formationsOutillage de mise en oeuvre
Ressources
Fiche technique - Raccord mâle - Filet conique - ISO 7-1 - 7020
(application/pdf, 271.79 ko)Fiche de mise en oeuvre - Raccord mâle - Filet conique - ISO 7-1 - 7020
(application/pdf, 598.04 ko)Attestation de Conformité Sanitaire (ACS) - Raccord mâle - Filet conique - ISO 7-1 - 7020
(application/pdf, 1038.23 ko)Informations logistiques
| Pièce | Sachet | Carton | |||||||||
|---|---|---|---|---|---|---|---|---|---|---|---|
| Référence | Larg. (mm) | Prof. (mm) | Haut. (mm) | Poids (kg) | Poids (kg) | Qté | Larg. (mm) | Prof. (mm) | Haut. (mm) | Qté | Poids (kg) |
| 70201603 | 80 | 40 | 40 | 0,03 | 0,300 | 10 | 570 | 490 | 330 | 600 | 19,40 |
| 70201605 | 80 | 40 | 40 | 0,03 | 0,300 | 10 | 570 | 490 | 330 | 500 | 16,40 |
| 70201607 | 80 | 40 | 40 | 0,04 | 0,400 | 10 | 570 | 490 | 330 | 500 | 21,40 |
| 70202005 | 95 | 50 | 50 | 0,06 | 0,600 | 10 | 570 | 490 | 330 | 350 | 22,40 |
| 70202007 | 95 | 50 | 50 | 0,06 | 0,600 | 10 | 570 | 490 | 330 | 350 | 22,40 |
| 70202010 | 95 | 50 | 50 | 0,06 | 0,600 | 10 | 570 | 490 | 330 | 350 | 22,40 |
| 70202505 | 95 | 55 | 55 | 0,07 | 0,700 | 10 | 570 | 490 | 330 | 250 | 18,90 |
| 70202507 | 95 | 55 | 55 | 0,07 | 0,700 | 10 | 570 | 490 | 330 | 250 | 18,90 |
| 70202510 | 100 | 55 | 55 | 0,08 | 0,800 | 10 | 570 | 490 | 330 | 250 | 21,40 |
| 70203207 | 110 | 65 | 65 | 0,11 | 0,550 | 5 | 570 | 490 | 330 | 150 | 17,90 |
| 70203210 | 110 | 65 | 65 | 0,12 | 0,600 | 5 | 570 | 490 | 330 | 150 | 19,40 |
| 70203213 | 110 | 65 | 65 | 0,11 | 0,550 | 5 | 570 | 490 | 330 | 150 | 17,90 |
| 70203215 | 110 | 65 | 65 | 0,13 | 0,650 | 5 | 570 | 490 | 330 | 140 | 19,60 |
| 70204010 | 120 | 80 | 80 | 0,18 | - | - | 570 | 490 | 330 | 110 | 21,20 |
| 70204013 | 120 | 80 | 80 | 0,19 | - | - | 570 | 490 | 330 | 110 | 22,30 |
| 70204015 | 120 | 80 | 80 | 0,18 | - | - | 570 | 490 | 330 | 100 | 19,40 |
| 70204020 | 125 | 80 | 80 | 0,21 | - | - | 570 | 490 | 330 | 100 | 22,40 |
| 70205010 | 135 | 95 | 95 | 0,27 | - | - | 570 | 490 | 330 | 70 | 20,30 |
| 70205013 | 140 | 95 | 95 | 0,27 | - | - | 570 | 490 | 330 | 70 | 20,30 |
| 70205015 | 140 | 95 | 95 | 0,28 | - | - | 570 | 490 | 330 | 70 | 21,00 |
| 70205020 | 140 | 95 | 95 | 0,28 | - | - | 570 | 490 | 330 | 65 | 19,60 |
| 70206313 | 155 | 110 | 110 | 0,44 | - | - | 570 | 490 | 330 | 48 | 22,52 |
| 70206315 | 155 | 110 | 110 | 0,45 | - | - | 570 | 490 | 330 | 48 | 23,00 |
| 70206320 | 170 | 110 | 110 | 0,46 | - | - | 570 | 490 | 330 | 48 | 23,48 |
| 70206325 | 170 | 110 | 110 | 0,46 | - | - | 570 | 490 | 330 | 45 | 22,10 |
