Coude à 45° encliquetable Série 1
Code produit : 10060
Raccords encliquetables
Raccord à encliqueter à 45° pour systèmes de canalisations PEHD pression.
Permet l'assemblage à 45° de 2 tubes de diamètres égaux.
Compatible avec les tubes en PVC pression moyennant l'adaptation des bagues et écrous aux spécifications du PVC (kit 1091Q).
Disponible en PN16 (EAU) / PN10 (AIR) du d32 à 63 mm.
Les produits
- Compact et esthétique : Idéal pour les applications où l’espace est limité et l’apparence essentielle
- Pose en aérien ou enterrée
- Installation simple sans outil et sans serrage - Déverrouillable si besoin
- Etanchéité indépendante du maintien sur le tube - Double bague de serrage
- Ne nécessite pas de protection contre la corrosion
- Homogénéité des matériaux de l'assemblage.
- Effet piston négligeable grâce à l'ensemble double bague et écrou.
Domaines d'application
Adduction d'eau potable ou brute. Air comprimé. Géothermie.
Température du fluide : max 40°C, détimbrage à partir de 20°C.
Caractéristiques techniques
Matière
NF EN 681-1: Garnitures d'étanchéité en caoutchouc - Spécification des matériaux pour garnitures d'étanchéité pour joints de canalisations utilisées dans le domaine de l'eau et de l'évacuation. - Partie 1 : caoutchouc vulcanisé Certification
Corps : Polypropylène, copolymère haute qualité. Ecrous : Polypropylène, copolymère haute qualité. Joints : NBR. Bagues de crampage : Polyacétal.
Références normatives ISO 17885: 2021 - Systèmes de canalisations en plastiques — Raccords mécaniques pour les canalisations sous pression — SpécificationsNF EN 681-1: Garnitures d'étanchéité en caoutchouc - Spécification des matériaux pour garnitures d'étanchéité pour joints de canalisations utilisées dans le domaine de l'eau et de l'évacuation. - Partie 1 : caoutchouc vulcanisé Certification
Attestation de Conformité Sanitaire (ACS)
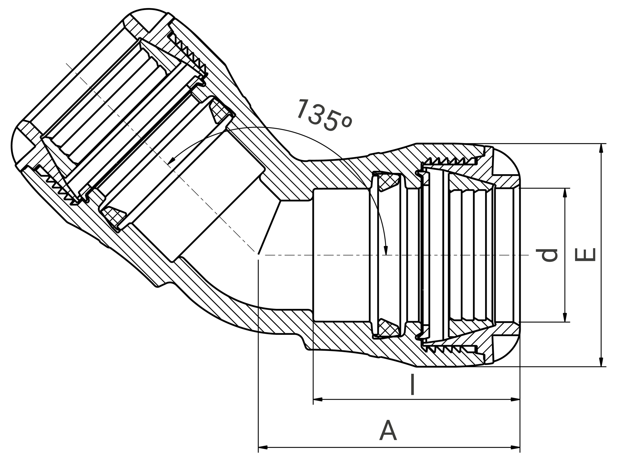
Références et dimensions
| Référence | d | E | A | I | PN à 20°C | Fiche tech. | CAD |
|---|---|---|---|---|---|---|---|
| 1006032 | 32 | 58 | 67 | 54 | 16 | Télécharger Fiche tech. | Télécharger CAD |
| 1006040 | 40 | 70 | 88 | 71 | 16 | Télécharger Fiche tech. | Télécharger CAD |
| 1006050 | 50 | 85 | 100 | 79 | 16 | Télécharger Fiche tech. | Télécharger CAD |
| 1006063 | 63 | 103 | 118 | 90 | 16 | Télécharger Fiche tech. | Télécharger CAD |
Schéma technique pour le produit :

Accessoires
Vidéos
Nos formations
Plasson France accompagne vos équipes dans l’apprentissage des bonnes pratiques de raccordement du PE.
Découvrir nos formationsOutillage de mise en oeuvre
Informations logistiques
| Pièce | Sachet | Carton | |||||||||
|---|---|---|---|---|---|---|---|---|---|---|---|
| Référence | Larg. (mm) | Prof. (mm) | Haut. (mm) | Poids (kg) | Poids (kg) | Qté | Larg. (mm) | Prof. (mm) | Haut. (mm) | Qté | Poids (kg) |
| 1006032 | 135 | 95 | 60 | 0,14 | 0,7 | 5 | 570 | 490 | 330 | 150 | 22,4 |
| 1006040 | 175 | 120 | 70 | 0,26 | - | - | 570 | 490 | 330 | 80 | 22,2 |
| 1006050 | 200 | 140 | 85 | 0,43 | - | - | 570 | 490 | 330 | 50 | 22,9 |
| 1006063 | 235 | 170 | 105 | 0,72 | - | - | 570 | 490 | 330 | 25 | 19,4 |
