Manchon à compression Série 7 d160
Code produit : 17010
Raccords à compression
Raccord à compression droit pour systèmes de canalisations sous pression.
Permet l'assemblage de 2 tubes en PEHD de diamètre 160mm. Disponible en PN16 d160mm.
Domaines d'application
Irrigation - Adduction d'eau brute ou destinée à la consommation humaine.
Température du fluide : max 40°C, détimbrage à partir de 20°C.
Caractéristiques techniques
Matière
NF EN 681-1: Garnitures d'étanchéité en caoutchouc - Spécification des matériaux pour garnitures d'étanchéité pour joints de canalisations utilisées dans le domaine de l'eau et de l'évacuation. - Partie 1 : caoutchouc vulcanisé Certification
Corps : Polypropylène, copolymère haute qualité. Ecrous : Polypropylène, copolymère haute qualité. Joints : NBR. Bagues de crampage : Polyacétal.
Références normatives ISO 17885: 2021 - Systèmes de canalisations en plastiques — Raccords mécaniques pour les canalisations sous pression — SpécificationsNF EN 681-1: Garnitures d'étanchéité en caoutchouc - Spécification des matériaux pour garnitures d'étanchéité pour joints de canalisations utilisées dans le domaine de l'eau et de l'évacuation. - Partie 1 : caoutchouc vulcanisé Certification
Sans Attestation de Conformité Sanitaire (ACS)
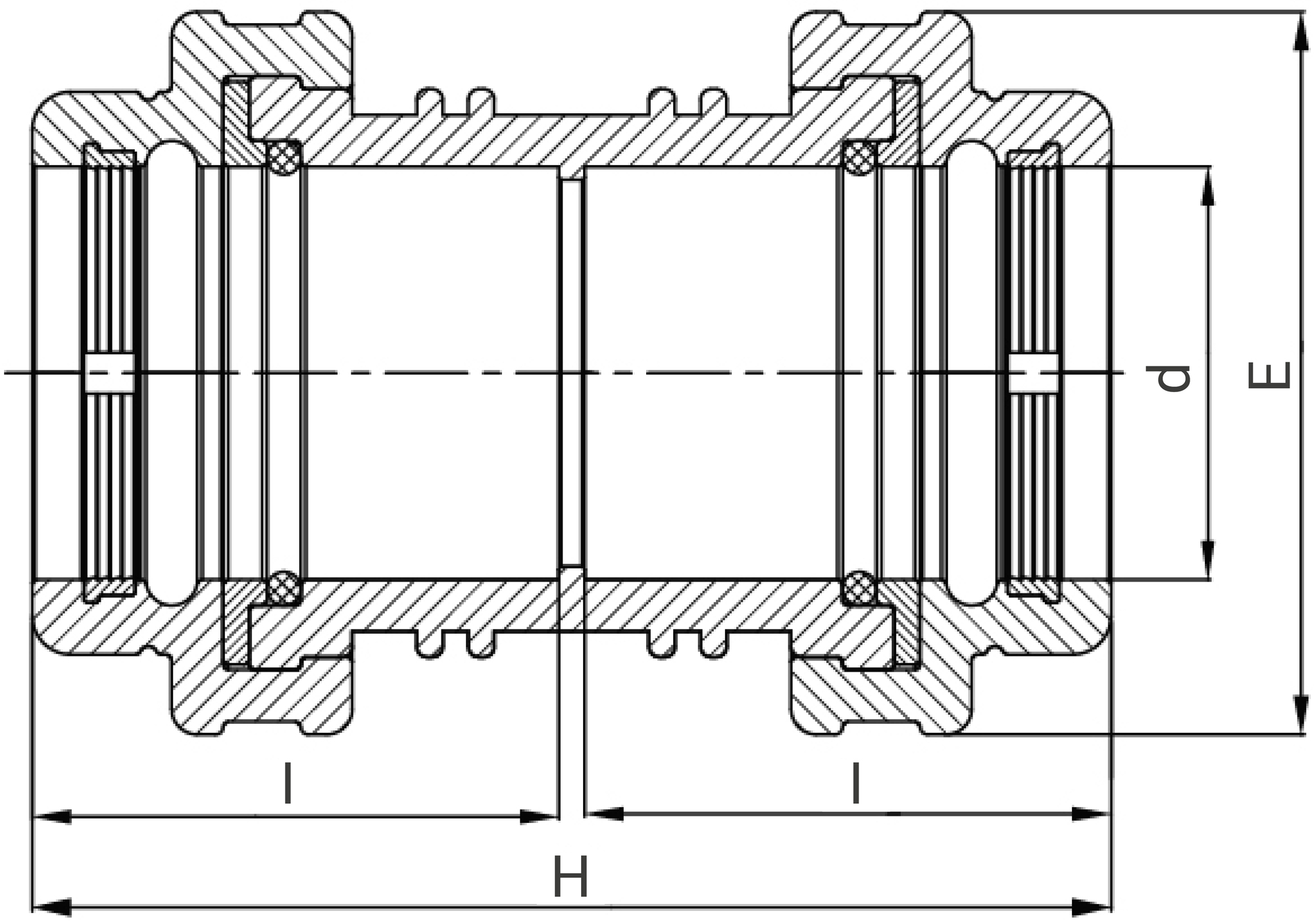
Références et dimensions
| Référence | d | H | E | I | PN à 20°C | Fiche tech. | CAD |
|---|---|---|---|---|---|---|---|
| 17010160 | 160 | 418 | 280 | 204 | 10 | Télécharger Fiche tech. | Télécharger CAD |
Schéma technique pour le produit :

Vidéos
Nos formations
Plasson France accompagne vos équipes dans l’apprentissage des bonnes pratiques de raccordement du PE.
Découvrir nos formationsInformations logistiques
| Pièce | Carton | ||||||||
|---|---|---|---|---|---|---|---|---|---|
| Référence | Larg. (mm) | Prof. (mm) | Haut. (mm) | Poids (kg) | Larg. (mm) | Prof. (mm) | Haut. (mm) | Qté | Poids (kg) |
| 17010160 | 420 | 280 | 280 | 8,89 | 570 | 490 | 330 | 2 | 19,18 |
Ces produits peuvent aussi vous intéresser
7010
Manchon à compression Série 7
Du d16 au d63 et d125
7340
Té à 90° réduit à compression Série 7
Du d20 x 16 au d63 x 50
7040
Té égal à 90° à compression Série 7
Du d16 au d63
7640
Té à 45° à compression Série 7
d63
87050
Coude à 90° à compression millenium Série 7
Du d75 au d110
